-
Your shopping cart is empty!
Regarding the question were frequently asked about Volvo Aquamatic long hub or short hub props, below you will be able to determine the correct fitment for your application. If you still have questions, please feel free to contact us by email or phone at 360-299-8266.
Volvo Penta Aquamatic Short hub propellers for sterndrives.

Hardware links for Short Hub Propellers:
1-Volvo Penta Aquamatic Spinner Cone 854045
2-Volvo Penta Aquamatic Allen Bolt 850889
3-Volvo Penta Aquamatic Spacer 854047
4-Volvo Penta Aquamatic Plastic Washer 850888
5-Volvo Penta Aquamatic Tab Washer 897367
6-Volvo Penta Aquamatic Line Cutter 839534
Volvo Penta Aquamatic Long Hub Propellers for Sterndrives.

Hardware links for Long Hub Propellers:
1-854045 Volvo Penta Aquamatic Spinner Cone
2-850889 Volvo Penta Aquamatic Allen Bolt
3-850888 Volvo Penta Aquamatic Plastic Washer
4-839423 Volvo Penta Aquamatic Line Cutter
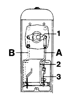
Changing rotation of propellers on Volvo Penta Aquamatic drives as follows.
The upper gear is designed in a way it does not have to be changed if you want to change the rotation of the propeller.
With the standard rotation - left hand rotating propeller, the lower gear wheel is opperating as "forward" gear and the shift rod is located in accordance with "A" on the picture. With a right hand rotating propeller the upper gear wheel is opperating as "forward" gear and the shift rod is located in accordance with "B" on the picture.
In order to reverse the propeller rotation the shift rod between the yoke (3) and the lever (1) on the shift mechanism must be moved as follows.
a) Remove the cover over the shift mechanism.
b) Move the shift rod 2 from position "A" to "B".

